Ford Motor Co. appears to be working on an answer to one of its rival’s key selling points in the ongoing truck wars.
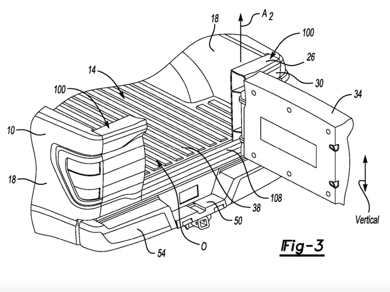
The automaker recently filed patents for a multifunction tailgate with a door, easy-access steps and other features.
GMC popularized such features with its MultiPro tailgate, which has been expanded to the Chevrolet brand as Multi-Flex. Ram also offers a similar tailgate.
The most recent tailgate patent, reported last week by CarBuzz, was filed last July and published this month.
Ford has patented other tailgate features, including partial openings to better load cargo.
It’s unclear if Ford will produce a multifunction tailgate or when it would be offered.


